DE102014211514B4
Description
The invention relates to a method for determining the flow rate of particles through a surface or the volume flow and a measuring device for carrying out the method. Furthermore, the invention relates to a method for operating a paint shop and spray drying plant.
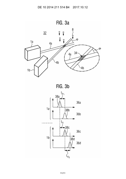
The determination of various characteristic properties of individual particles whose size is in the range of millimeters and smaller, is of great importance for research as well as for the industrial and commercial use of products or processes. Often, the characteristics of interest relate to the size, shape, speed and refractive index of individual particles. The simultaneous determination of both the size and the velocity of individual particles is of particular interest, since with this information, a flux density such as a mass flow or a volume flow can be determined. In addition, individual particles in a large number of particles can be identified and characterized individually, such as individual droplets in an aerosol or spray.



The determination of characteristic properties of individual droplets is required, for example, for the optimization of injection processes of a fuel into a combustion chamber or for the characterization of a spray of a paint or a paint during a spraying process. The particles whose properties are to be determined, are not only liquid droplets in a gas such as air, but depending on the application solid particles, gas bubbles in a liquid or a droplet emulsion of a first liquid, which is distributed in a second liquid.
From practice, various measuring methods are known. In many cases, optical measuring methods are advantageous because they do not or not significantly affect the individual particles whose properties are to be determined.
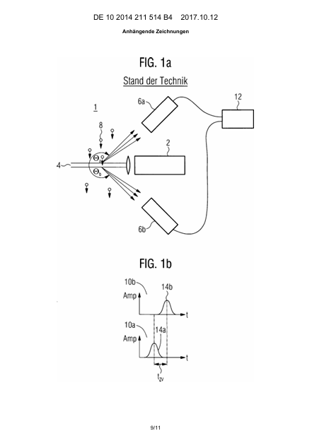
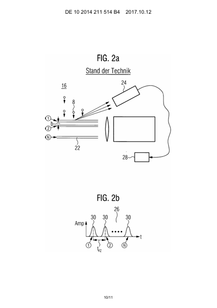
The optical measuring methods known from practice and from research include, for example, high-resolution imaging techniques, intensity measurements, interferometry or the evaluation of reflected and refracted or refracted light beams which are scattered by a particle to be measured.

